

혹시 컵라면 드실 때 정수기 온수로는 면이 잘 익지 않아 답답했던 적 없으신가요? 분명 '온수' 버튼을 눌렀는데, 막상 받아보면 미지근해서 결국 커피포트나 냄비에 물을 다시 끓이게 되는 번거로운 상황, 누구나 한 번쯤 겪어보셨을 텐데요.
일반적인 정수기의 온수 온도는 보통 85도에서 90도 정도입니다. 커피나 차를 마시기엔 적당하지만, 팔팔 끓는 물이 필요한 요리에는 2% 부족한 게 사실이죠. 그래서 요즘은 끓인 물이 바로 나오는 정수기가 많이 출시되고 있습니다.
기다릴 필요 없이 버튼 하나로 끓는 물을 만날 수 있어서 아주 편리해요. 그렇다면 과연 어떤 원리로 이게 가능한지, 그리고 우리 집 주방에 딱 맞는 제품은 무엇인지 오늘 확실하게 정리해 드릴게요.
→ 네, 그렇습니다!
일반 온수 정수기는 뜨거운 물을 저장해두는 방식이거나 온도가 100℃ 보다 낮게 설정되어 있었지만, 100도씨 정수기는 물을 끓이는 과정을 거쳐 실제 100℃에 도달한 물을 출수합니다. 덕분에 훨씬 뜨거운 물로 다양한 조리 상황에 바로 사용할 수 있죠.
어떻게 저수조도 없는데 순식간에 뜨거운 물이 나올까요? 비결은 바로 '순간 온수 가열 방식'에 있습니다. 우리가 헤어드라이어를 켜자마자 뜨거운 바람이 나오는 것과 비슷하다고 보시면 됩니다.
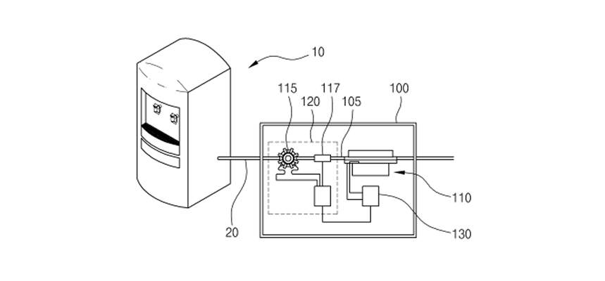
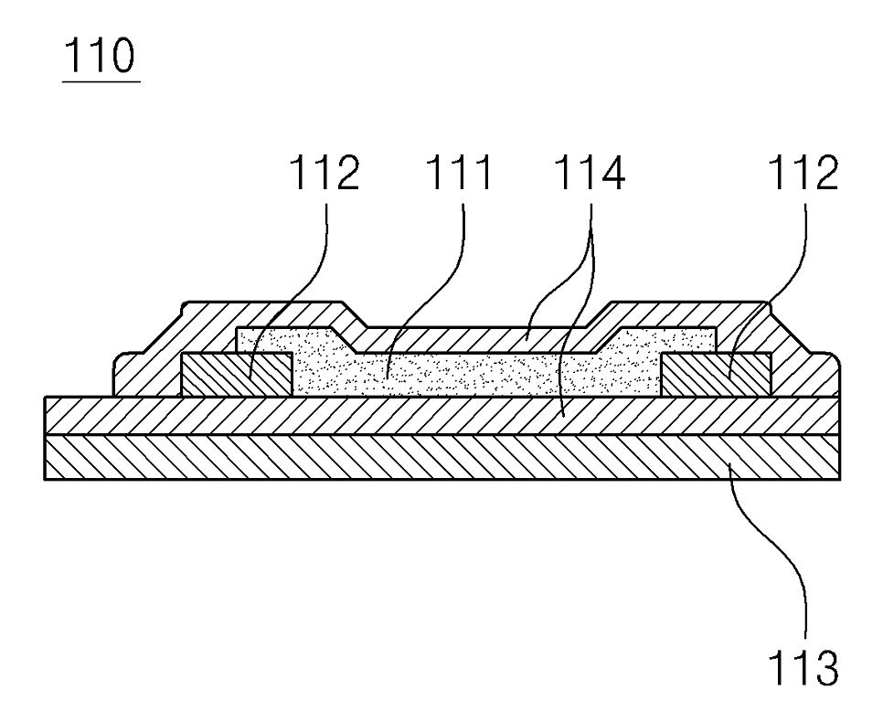
정수기 내부의 얇은 파이프(유로) 주변에 '면상 발열 히터'나 '인덕션 히터' 같은 고성능 열선이 감겨 있는데요. 물이 이 파이프를 지나가는 그 짧은 순간에 강력한 열을 가해 순식간에 끓는 물로 만들어주는 원리랍니다. 순간 온수 가열 방식에는 두 가지 방식이 있어요.


출처 : 대한민국 특허청 (웅진 코웨이)
얇은 면 형태의 발열체가 넓은 면적을 한 번에 데워주어 에너지 효율이 높고 일정한 온도의 물을 제공해요. 또한 안정적인 출수로 가정용으로 적합합니다.

출처 : 대한민국 특허청 (한국 전기 연구원)
전자기장의 원리를 이용해 파이프 자체를 뜨겁게 달궈 열 손실 없이 아주 빠르게 물을 끓여줍니다.

뜨거운 물에 담겨있는 젖병 이미지 | AI 활용 이미지
아기 키우는 집에서는 젖병 소독이 필수죠. 매번 물 끓이고 삶는 게 일인데, 100도씨 정수기가 있으면 끓인 물을 바로 부어 간편하게 열탕 소독 효과를 볼 수 있습니다.

정수기에서 뜨거운 물을 받고 있는 컵라면 이미지 | AI 활용 이미지
미지근한 물에 불은 컵라면은 이제 안녕! 100℃ 끓는 물로 더욱 맛있는 라면을 즐기세요. 가끔 요리하다 보면 급하게 면을 삶아야 하거나 물이 부족해서 물을 다시 끓이는 상황이 발생하잖아요.
이런 경우에 바로 온수를 뽑아서 물 끓이는 시간을 줄일 수 있으니 이보다 편리할 수 없죠.

뜨거운 물로 싱크대에서 프라이팬을 설거지하고 있는 이미지 | AI 활용 이미지
삼겹살 구워 먹고 난 뒤 미끈거리는 프라이팬이나 가스레인지 후드에 눌어붙은 기름때는 찬물로 닦으면 오히려 기름만 더 번지잖아요.
이럴 때 뜨거운 물로 세척해 주면 굳어있던 기름때가 사르르 녹아내립니다.
세제를 많이 쓰지 않아도 뽀득뽀득하게 청소할 수 있어 더 편하게 설거지를 할 수 있어요.
그렇다면 100℃ 뜨거운 물이 바로 나오는 정수기는 무엇이 있을까요? 아래 대표 정수기 세 가지를 알려드릴게요!
눈으로 직접 확인 가능한 100도 물 추출

출처 : 쿠쿠 홈페이지
보통 정수기는 안에서 무슨 일이 일어나는지 알 수 없잖아요? 하지만 쿠쿠는 '보일링 챔버'라는 투명한 창을 통해 물이 100도로 보글보글 끓는 모습을 직접 눈으로 확인할 수 있습니다.
끓는 모습을 실시간으로 확인할 수 있으니, 믿고 마음껏 마실 수 있어요.
온수 기포 제거로 끓는 물도 우아하게 출수

아이스 화이트 색상 코웨이 아이콘 얼음정수기 | 출처 : 코웨이 공식 홈페이지
혹시 끓는 물이 튈까 봐 걱정되시나요? 코웨이는 '온수 기포 분리 기술'을 적용해 물이 튀지 않고 일정하게 나오도록 설계했습니다.
뜨거운 물 사용할 때 화상 위험도 줄어들어 어린아이도 안심하고 사용할 수 있어요.
🔗코웨이 아이콘 얼음정수기 미니 견적 알아보기🔗
진짜 고온 수로 물 따로 끓이지 않고 한 번에!

버튼을 누르는 즉시 물을 가열하는 '직수 가열 방식'이라 대기 시간 없이 바로 약 100도의 고온수를 만날 수 있습니다.
특히 온수 기능을 내 마음대로 ON/OFF 할 수 있어서 쓸 일이 없을 때는 꺼두고 전기세를 아낄 수 있어요.
🔗SK매직 초소형 직수 정수기 견적 알아보기🔗
※ 2026년 1월 렌트리 최저가 기준
매번 물 끓이는 귀찮음에서 해방되고 싶다면, 지금 바로 우리 집에 딱 맞는 100도씨 정수기를 선택해 보세요!
원하는 조건을 만날 때까지 업체별 견적을 5초 만에 받아볼 수 있고, 간편 채팅 상담으로 부담 없이 직접 견적을 선택할 수 있습니다.
추운 겨울, 100도씨 정수기로 더욱 편리하고 건강하게 생활해 보세요!
🔗100도씨 정수기 실시간 렌탈 혜택 비교 바로가기🔗


